ตั้งแต่ทางมาสด้า เปิดแผนเครื่องยนต์เบนซินไร้หัวเทียน ที่จะเข้ามาทำตลาดในเร็วๆนี้ หลายคนก็หันมาให้ความสนใจบริษัทรถยนต์ชั้นนำรายนี้ที่พยายามสร้างสรรค์ เครื่องยนต์สันดาปภายในใหม่ๆ ออกมา
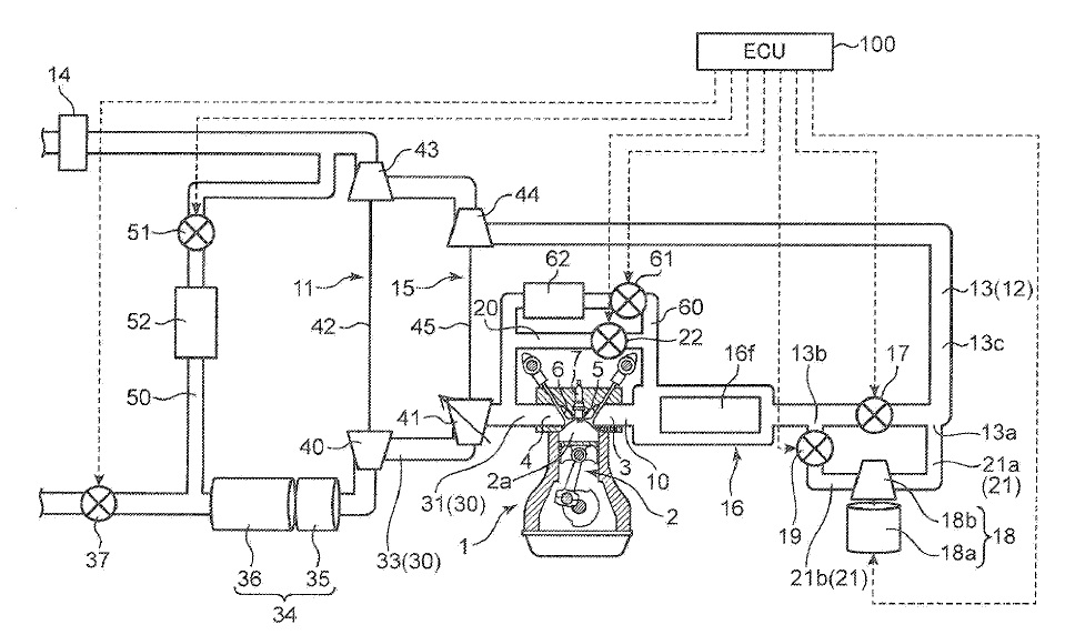
ล่าสุดหลังจาก เครื่องยนต์เบนซินไร้หัวเทียน ที่สร้างความฮือฮาให้ตลาดทั่วโลก ทางมาสด้า ยังไม่หยุดที่จะสร้างสรรค์รถยนต์เครื่องยนต์สันดาปภายในใหม่ๆ ที่มาพร้อม โดยล่าสุด ทาง Road&Track เพิ่งจะชี้เป้าว่า ทางมาาสด้า เพิ่งจะขอยื่นจดสิทธิบัตร เครื่องยนต์ทวินเทอร์โบ ที่มาพร้อมระบบซุปเปอร์ชาร์จไฟฟ้า
โดยระบบเครื่องยนต์ที่ยังไม่เปิดเผยลักษณะเครื่องยนต์จะติดตั้งพร้อมระบบเทอร์โบ 2 ตัว ทำงานคู่ขนานระหว่างกัน และจะทำงานเมื่อเครื่องยนต์อยู่ในช่วงรอบเครื่องยนต์สูง ส่วนซุปเปอร์ชาร์จไฟฟ้าจะทำงานทันทีตั้งแต่เครื่องยนต์ในรอบต่ำ ซึ่งการติดตั้งระบบแบบนี้เชื่อว่าจะทำให้เครื่องยนต์ของมาสด้านั้น ลดอาการรอรอบที่เกิดขึ้นของระบบอัดอากาศได้
ถึงแม้ว่าจะว้าว และน่าสนใจ แต่แนวทางเดียวกันนี้เคยออกแบบโดย วอลโว่ที่เคยแนะนำระบบ Triple Boost ในเครื่องยนต์ 4 สูบ ขนาด 2.0 ลิตร ตระกูล Drive E โดยวอลโว่ทำกำลังสูงสุดได้ถึง 450 แรงม้า
แต่หลายคนเชื่อว่าเครื่องยนต์ของมาสด้าไม่น่าจะทำกำลังเท่ากับ Volvo ทว่าด้วยระบบและแนวทางการบูสต์ดังกล่าว น่าจะทำให้มีกำลังมากกว่าระบบเครื่องยนต์ปกติอย่างแน่นอน
อย่างไรก็ดี ยังไม่มีรายงานว่าเครื่องยนต์ดังกล่าวจะติดตั้งในรถยนต์รุ่นใด แต่เชื่อว่า น่าจะเปิดตัวในกลุ่มรถสปอร์ต ของบริษัท
ที่มา Road&Track
ชอบกดไลค์ใช่กดแชร์ ขอบคุณทุกกำลังใจสำหรับพวกเรา ridebuster.com
