ช่วงสัปดาห์ที่ผ่านมา Toyota สร้างเสียงฮือฮา ด้วยข้อมูลที่หลุดออกมาจากสำนักสิทธิบัตรของสหรัฐว่า เตรียมส่งระบบเกียร์ธรรมดาใหม่ ที่สามารถขับได้โดยมีฟังชั่นควบคุมการไหลของรถ เพื่อให้รถเข้าตำแหน่งเกียร์บ้างในจังหวะระหว่างขบขี่ ทำให้มีความประหยัดน้ำมันอย่างยิ่งมากขึ้นกว่าการขับด้วยธรรมดาทั่วไป
ระบบนี้หลายฝ่ายเห้นว่านอกจากจะประหยัดแล้ว โตโยต้า อาจจะยัดฟังชั่นฝึกสอนขับเกียร์ธรรมดามาให้เด้กรุ่นใหม่ที่โตมากับความทันสมัยของรถยนต์ในปัจจุบัน แต่น่าขันที่ล่าสุด ระบบที่เรากำลังจะพูว่ามันโคตรทันสมัยนี้กลับเป็นอดีตการคิดค้นโดยค่ายรถยนต์ Saab ที่มีไอเดียเดียวกัน และพัฒนามาตังแต่ยุค 60
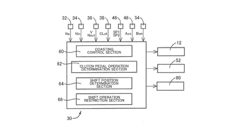
รายงานจาก Roadshow ระบุว่า แนวความคิดดังกล่าวที่ดูสมัยใหม่และทันสมัยอย่างยิ่งเมื่อพูกว่า เกียร์ธรรมดาสามารถควบคุมด้วยระบบอิเล็กทรอกนิกส์ ได้ แต่ความจริงแล้ว มันคือการพัมนาาดั้งเดิมคล้ายกับแนวความคิดของ Saab

นิตยสารยานยนต์ Road and Track รายงานยืนยันเรื่องดังกล่าวระบุว่า ความคิดของโตโยต้า ค่อนข้างคล้ายกับรถ Saab 93 ในรุ่นปี 1965 ซึ่งเดิมทีต้องอาศัยการทำงานของกลไกในเรื่องเครื่องยนต์เพื่อทำให้น้ำมันเครื่องไหลเวียนในระบบตลอดเวลา แต่ซาปแก้ปัญหาดังกล่าวด้วยการใช้กลไกล้ออิสระเข้ามาช่วย โดยล้อนี้จะหมุนเร็วกว่ารอบเครื่องยนต์ ทำให้เครื่องยนต์ไม่ได้รับภาระในการทำงาน และแน่นอนทำให้ประหยัดมากขึ้น
แต่การวิศวกรรมระบบของ Toyota ไปไกลกว่านั้น หลายฝ่ายเชื่อว่าท้ายที่สุด Toyota จะติดระบบหยุดการทำงานเครื่องยนต์ แล้วพ่วงมันเข้ากับหน่วยประมวลผล เพื่อหยุดการทำงานเครื่องยนต์ขณะปล่อยไหลลงเนิน และนอกจากนี้ยังสามารถที่จะกลับมาทำงานตามต้องการอย่างรวดเร็ว
ทั้งนี้ ยังไม่มีใครรู้ว่าเทคโนโลยีเกียร์ธรรมดาใหม่ของ Toyota จะตอบโจทย์ลูกค้าในรถยนต์อะไรเป็นรุ่นแรก แต่แน่นอนว่า โตโยต้ามีแผนจะใช้ระบบนี้ในเร็วๆ นี้ ซึ่งเราคงต้องลุ้นกันต่อไปว่า จะเป็นรถรุ่นไหนกัน
ชอบกดไลค์ใช่กดแชร์ ขอบคุณทุกกำลังใจสำหรับพวกเรา ridebuster.com