กำลังกลายเป็นเรื่องงงระดับโลกที่อเมริกา หลังมีคนพบว่า ทางค่ายรถยนต์ Toyota ส่งจดสิทธิบัตรระบบเกียร์ธรรมดาแบบใหม่ที่ควบคุมด้วยคอมพิวเตอร์และสามารถเตะเปลี่ยนเกียร์เองได้ในบางจังหวะ เช่นควบคุมการไหลของรถ หรือบังคับการขึ้น-ลงตำแหน่งเกียร์ได้ด้วย
ประเด็นกำลังกล่าวกำลังเป็นที่ถกเถียงกันอย่างหนัก ถึงระบบเกียร์ธรรมดาใหม่ล่าสุดของ Toyota ว่ามันน่าจะออกมาเป็นอย่างไรกันแน่ หลังทาง Toyota เคยติดตั้งระบบลักษณะของ Rev Matching หรือ ปรับกำลังเครื่องยนต์ให้เหมาะสมต่อจังหวะต่อจังหวะเปลี่ยนเกียร์ ในรถยนต์บางรุ่นไปแล้วก่อนหน้านี้ ระบบลักษระเดียวกันถูกติดตั้งในรถยนต์ Toyota Hilux Revo ที่มาในระบบชื่อ “iMT” หากตามข้อมูลสิทธิบัตรล่าสุด ระบบเกียร์ธรรมดาใหม่ของ Toyota ทำอะไรได้มากกว่านั้น
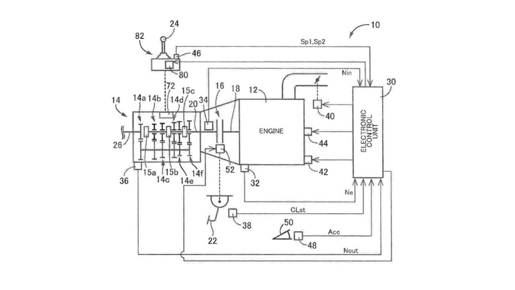
จากข้อมูลสิทธิบัตรที่ยืนต่อสำนักงานสิทธิบัตรสหรัฐล่าสุด ระบุว่า ทางโตโยต้า วางแผนในการผลิตเกียร์ธรรมดายุคใหม่ออกเป็นกึ่ง Manual โดยมีคันชักส่งกำลัง 3 ตัว , ตัวแรกเป็นด้ามเกียร์ที่เราใช้งานกันด้วยมืออย่างที่เรารู้จักกันดีมายาวนาน แต่อีก 2 ตัวที่เหลือนั้น ตัวหนึ่งจะควบคุมโดยหน่วยประมวลผล ที่จะคอยดูแลการขับขี่

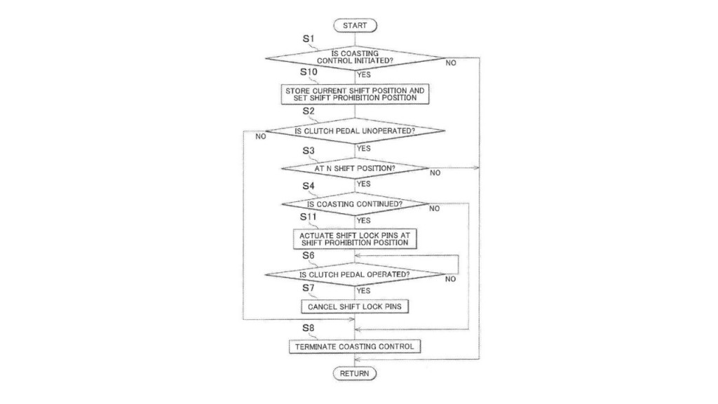
หนึ่งในระบบที่เห็นได้ชัดว่าถูกนำเข้ามาใช้ในระบบเกียร์ธรรมดาแบบคือ ระบบ Coasting Control เชื่อว่ามันน่าจะเป็นระบบสนับสนุนของชุดส่งกำลัง ตัดกำลังจากเครื่องยนต์บางจังหวะ โดยผ่านการสั่งการของระบบประมวลผล โดยสามารถตัดต่อชุดคลัทช์ในระหว่างที่ผู้ขับขี่อยุ่ในจังหวะปล่อยไหล เพื่อทำให้เกิดความประหยัดสูงสุด ด้วยการเข้าตำแหน่งเกียร์ว่างอัตโนมัติ เพื่อลดการใช้เครื่องยนต์ในรอบสูง
โดยหลายสื่อในอเมริกา เชื่อว่าระบบนี้เกิดขึ้นเพื่อทำให้รถเกียร์ธรรมดามีความประหยัดในการขับขี่มากขึ้นกว่าดั้งเดิม ซึ่งถูกเอาชนะด้วยระบบเกียร์อัตโนมัติยุคใหม่ อย่าง CVT
และนอกจากนี้ตามข้อมูลของการจดสิทธิบัตร ชุดเกียร์ธรรมดาใหม่ของ Toyota ยังมีชุดพินล๊อคในแต่ละเกียร์ เพื่อป้องกัน และบังคับให้ผู้ขับขี่ไม่เปลี่ยนเกียร์ผิดตำแหน่ง หรือเปลี่ยนเกียร์โดยพละการในบางจังหวะ เช่นเข้าเกียร์ลงมายังเกียร์ต่ำอย่างรวดเร็ว ซึ่งทำให้เครื่องยนต์เร่งรอบสูงอย่างรวดเร็ว และยังป้องกันไม่ให้ขึ้นเกียร์รวดเร็ว จนเครื่องยนต์เกิดการสะดุดในระหว่างการขับขี่ด้วย
อย่างไรก็ดีในความเห็นของผู้ใช้เกียร์ธรรมดาที่เข้ามาพูดคุยเกี่ยวกับระบบเกียร์ใหม่ของ Toyota ชี้ว่า แนวคิดของ Toyota นั้นค่อนข้างดี เนื่องจากสามารถช่วยฝึกให้คนยุคใหม่ที่ไม่คุ้นเคยกับเกียร์ธรรมดา ขับรถจนเป็นได้ และใช้งานได้อย่างเข้าใจ หรือจะพูดว่าเหมือนระบบช่วยฝึกขับเกียร์ธรรมดา
และสำหรับคนที่ขับเป็นอยู่แล้วยังช่วยการใช้เกียร์ห่ามๆ ที่อาจจะทำให้อายุชุดเกียร์สั้นลง
 
  
แน่นอนแม้ว่าเราอาจจะเรียก มันว่าระบบเกียร์ธรรดมา แต่ก็ชัดแล้วว่าระบบเกียร์ธรรดมาดังกล่าว คือระบบเกียร์ธรรมดา ที่มีการควบคุมกลไกการทำงานและประมวลผลด้วยคอมพิวเตอร์อย่างชัดเจน นี่อาจไม่ใช่ครั้งแรกที่เกียร์ธรรมดามีตัวควบคุม แต่น่าจะเป็นครั้งแรกที่มันควบคุมกลไกอย่างจริงจัง
จนคำถามที่เกิดขึ้นในใจหลายคนคือ ระบบเกียร์นี้จะอยู่ในรถยนต์รุ่นใด ของ Toyota
ที่มาภาพ สำนักงานสิทธิบัตรและเครื่องหมายการค้าสหรัฐอเมริกา
ชอบกดไลค์ใช่กดแชร์ ขอบคุณทุกกำลังใจสำหรับพวกเรา ridebuster.com

 
            