Porsche ยื่นจดข้อมูลสิทธิบัตรใหม่ล่าสุดกับหน่วยงานรัฐในสหรัฐอเมริกา โดยสิ่งน่าสนใจของสิทธิบัตรใหม่ที่ว่านี้ คือการที่มันว่าด้วยเรื่องของเทคโนโลยี “เครื่องยนต์ 6 จังหวะ”

หากคุณเป็นคนที่ศึกษาเรื่อง “เครื่องยนต์” ในยานพาหนะลึกประมาณหนึ่ง คุณก็คงพอจะทราบกันบ้างว่านอกจาก “เครื่องยนต์ 4 จังหวะ” ที่นิยมใช้ในปัจจุบัน เหล่านักวิทยาศาสตร์และผู้ผลิตต่างก็พยายามสรรค์สร้างเครื่องยนต์ในรูปแบบอื่นด้วย ซึ่งล่าสุดคือ “เครื่องยนต์ 6 จังหวะ” ที่คิดค้นโดย Porsche ดังที่เราเกริ่นไว้ข้างต้น
แต่ก่อนที่จะว่ากันเรื่องไอเดีย หรือแนวคิด และประโยชน์ของขุมกำลังแบบใหม่นี้ เราขอทวนพื้นฐานรูปแบบ หรือวัฏจักรการสร้างกำลังของเครื่องยนต์แบบ 4 จังหวะที่นิยมใช้ในยานพาหนะยุคปัจจุบัน ให้กับผู้อ่านที่อาจจะยังไม่เข้าใจเรื่องพื้นฐานนี้ก่อน
กล่าวคือ เครื่องยนต์ 4 จังหวะ ที่นิยมใช้กันอยู่ในยานพาหนะยุคปัจจุบัน จะมีวัฎจักรการสร้างกำลังแบ่งออกเป็น 4 ขั้นด้วยกัน ได้แก่
- ดูด : ดูดอากาศ หรืออากาศที่ผสมกับน้ำมันเชื้อเพลิง เข้าสู่ห้องเผาไหม้ โดยอาศัยแรงดูดจากลูกสูบในเสื้อสูบที่กำลังเคลื่อนตัวลงจากศูนย์ตายบน
- อัด : บีบอัดส่วนผสมอากาศ หรือ อากาศที่ผสมกับน้ำมันเชื้อเพลิง ด้วยการขยับลูกสูบจากศูนย์ตายล่าง ให้กลับขึ้นไปศูนย์ตายบนอีกครั้ง เพื่อให้ไอดีที่ถูกดูดเข้ามาก่อนหน้านี้ มีความหนาแน่นสูงขึ้น เพื่อเตรียมพร้อมสำหรับวัฏจักรขั้นต่อไป
- ระเบิด : คือจังหวะสร้างกำลัง จากการจุดระเบิดส่วนผสมไอดีที่ถูกอัดอยู่จากวัฏจักรก่อนหน้าให้ระเบิดและเกิดแรงผลักให้ลูกสูบขยับตัวลงอย่างรวดเร็ว รุนแรง และนำกำลังระเบิดที่ได้ไปใช้หรือแปลงเป็นพลังงานจลน์สำหรับขับเคลื่อนยานพาหนะต่อไป
- คาย : คือจังหวะที่ลูกสูบซึ่งพึ่งขยับลงไปจะกลับมาขยับขึ้นด้านบนอีกครั้ง เพื่อผลักเอาไอเสียที่เกิดจากการจุดระเบิดเสร็จสิ้นแล้วออกไปจากเสื้อสูบ เพื่อเตรียมสำหรับการเริ่มวัฎจักรใหม่ นั่นคือการดูดไอดีเข้าสู่ห้องเผาไหม้อีกครั้ง

จากรูปแบบวัฎจักรข้างต้น จะเห็นได้ว่าเครื่องยนต์ 4 จังหวะ จะมีจังหวะในการรสร้างกำลังจริงๆเพียง 1 ครั้ง เท่านั้น และในอีกความหมายหนึ่ง ก็แปลว่าลูกสูบต้องหมุนขึ้น-ลง 2 รอบ ถึงจะได้จังหวะกำลัง 1 ครั้ง
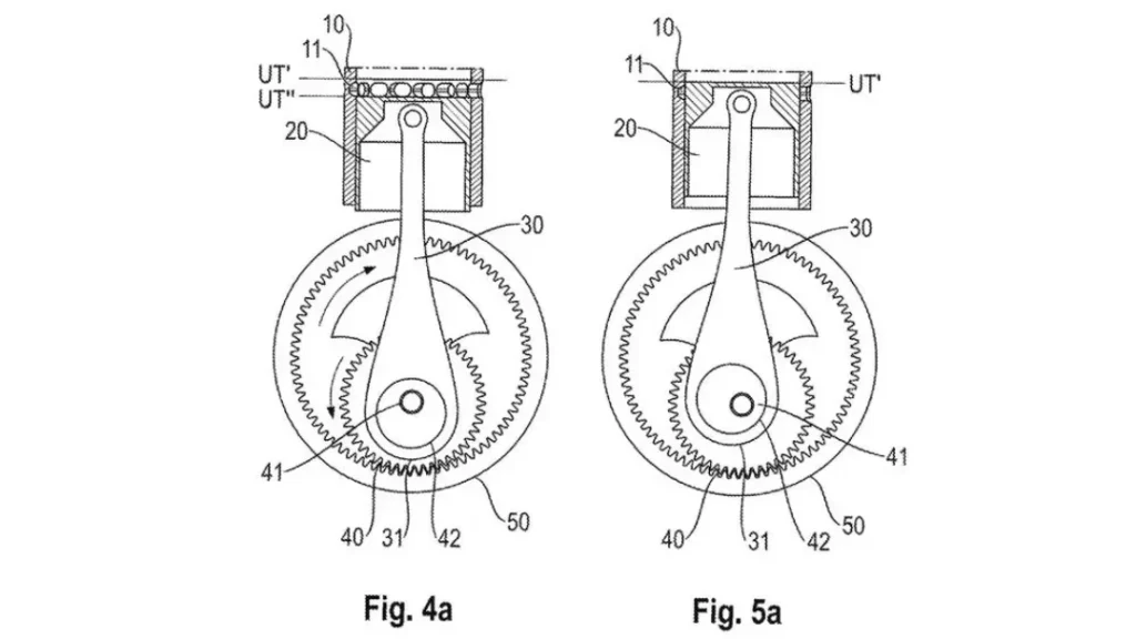
แต่สำหรับเครื่องยนต์ 6 จังหวะที่ทางวิศวกร Porsche คิดค้นขึ้นมานั้น จะสามารถสร้างจังหวะกำลังได้ทั้งหมด 2 ครั้ง จากการหมุนลูกสูบขึ้น-ลง เพียง 3 รอบ เท่านั้น
หากให้อธิบายแบบง่ายๆ ก็ต้องย้อนไปในวัฏจักรเครื่องยนต์ 4 จังหวะก่อนหน้านี้ ที่หากเป็นฝั่งเครื่องยนต์ 6 จังหวะ จะมี 3 วัฎจักรแรกที่เหมือนเครื่องยนต์ 4 จังหวะทั้งหมด
แต่ในจังหวะที่ 4 แทนที่เครื่องยนต์จะเข้าสู่จังหวะคาย มันกลับจะเข้าสู่จังหวะ อัดไอเสียที่เกิดขึ้นอีกรอบ
และแน่นอนว่าจังหวะถัดไป ซึ่งเป็นจังหวะที่ 5 คือจังหวะการจุดระเบิดไอเสียที่ถูกบีบอัดใหม่อีกครั้ง
และจึงค่อยเข้าสู่จังหวะการคายไอเสียจริงๆออกไปอีกทีในจังหวะที่ 6

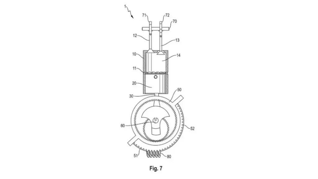
โดยการจะทำเช่นนี้ได้ ทาง Porsche ต้องใช้เฟืองแหวน 1 ชุด 2 ตัว โดยตัวแรกจะเป็นเฟืองวงใหญ่เพื่อคุมจังหวะการหมุนของเฟืองเล็กตัวที่ 2 ซึ่งเจ้าเฟืองเล็กที่ว่านี้ จะติดตั้งให้หมุนไปพร้อมๆกับเพลาข้อเหวี่ยง เพื่อขยับจังหวะลูกสูบให้หมุนขึ้น-ลง ซ้อนอีกครั้งในระหว่างวัฏจักรที่ 3 ไป 4 ของวัฎจักรเครื่องยนต์ 4 จังหวะแบบปกติอีกทีนั่นเอง
นั่นจึงหมายความว่าอันที่จริง จังหวะวัฏจักรที่ 4 กับ 5 ของเครื่องยนต์ 6 จังหวะ อาจไม่ได้เป็นจังหวะที่มีไว้เพื่อสร้างกำลังให้สูงมากนัก เนื่องจากระยะในการชักขึ้น-ลง ของลูกสูบ จะไม่ได้ขึ้นสุด-ลงสุด จนสามารถอัดไอเสียจากจังหวะระเบิดก่อนหน้าได้เต็มที่มากนัก
และเนื่องจากมันเป็นการอัดไอเสีย ดังนั้นน้ำมันเชื้อเพลิงที่หลงเหลือจากการเผาไหม้จึงไม่ได้สูงมากมายจนสามารถสร้างแรงระเบิดได้เท่ากับจังหวะกำลังก่อนหน้าอยู่แล้ว

แล้วจะทำไปเพื่ออะไร ?
หากมองจากลักษณะการทำงานข้างต้น เป็นไปได้ว่านี่คือไอเดียที่ถูกทำขึ้นมาเพื่อให้เครื่องยนต์สามารถเผาไหม้ไอดีได้อย่างหมดจดจริงๆ และยังเป็นการใช้พลังงานเฮือกสุดท้ายที่ยังสามารถเกิดขึ้นได้จากเชื้อเพลิงที่ยังคงหลงเหลืออยู่ในไอเสียให้คุ้มค่าที่สุดด้วย ซึ่งล้วนเป็นเหตุผลที่บ่งบอกถึงความพยายามในการลดการปลดปล่อยไอเสียและลดอัตราสิ้นเปลืองพลังงานจากเครื่องยนต์ 4 จังหวะเดิมๆที่ใช้กันอยู่ในปัจจุบัน
ทั้งนี้ แม้ไอเดียจะดูน่าสนใจ แต่เมื่อดูจากความซับซ้อนของลักษณะกลไก จึงเป็นไปได้ว่าสุดท้ายมันจะยังคงเป็นเพียงไอเดียต่อไป และทางค่ายก็คิดมันขึ้นมาเพียงเพื่อนำเสนออีกหนึ่งความเป็นไปได้ในการพัฒนาขุมกำลังสันดาปภายใน สำหรับลดการปลดปล่อยมลพิษเท่านั้น
ข้อมูลจาก Porsche
