ขณะที่คู่แข่งอย่าง Mercedes-Benz เลือกเปลี่ยนวิธีการประกอบไฟหน้าจากการซีลกาวให้เป็นการยึดด้วยสกรูขันเพื่อความสะดวกในการซ่อมแซม ฝั่ง BMW กลับผุดไอเดียใหม่ที่อาจจะทำให้การซ่อมบำรุงยุ่งยากกว่าเดิมแทนเสียอย่างงั้น

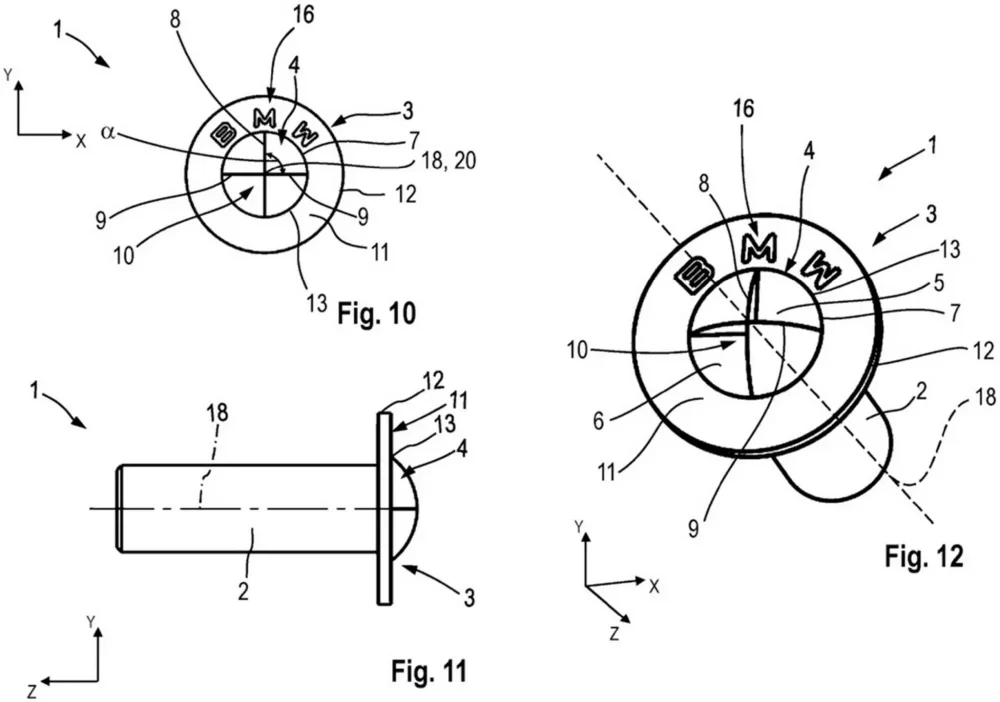
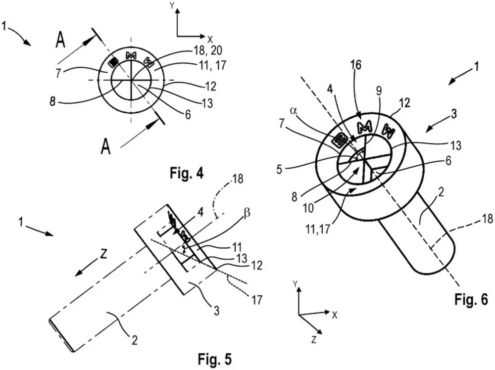
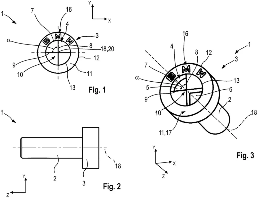
เพราะล่าสุด มีสื่อพบว่าทาง BMW ได้มีการจดสิทธิบัตร น็อต หรือ สกรู แบบพิเศษ ที่จะมีการออกแบบหัวสกรู ให้มีหน้าตาเหมือนกับตราสัญลักษณ์ของแบรนด์ โดยจะมีการออกแบบไว้ทั้ง แบบที่เป็นหัวจม, หัวจมเว้าลึก, หัวนูน, และ หัวเทเปอร์ เพื่อรองรับจุดประสงค์ในการใช้งานที่หลากหลาย
ปัญหาก็คือ เมื่อหัวสกรูถูกทำให้มีรูปทรงพิเศษแบบนี้ขึ้นมา ก็หมายความว่าอุปกรณ์ที่ต้องใช้เพื่อขันหัวสกรูเข้าออก ก็จะต้องเป็นแบบเฉพาะ เพื่อให้ใช้งานร่วมกันได้อีกด้วย ซึ่งก็จะทำให้คุณไม่สามารถที่จะ ให้ใคร หรือ อุปกรณ์ไขควง ธรรมดาๆที่ไหนมาขันได้
และต้องพึ่งผู้ชำนาญการที่มีอุปกรณ์รองรับ อย่างศูนย์บริการ ไม่ก็ต้องพกบล็อคไขไว้เองเพื่อเปลี่ยนใช้กับอุปกรณ์อื่นๆในอู่ที่คุณต้องเอารถเข้าไปใช้บริการ ซึ่งก็ต้องมาลุ้นกันอีกทีด้วยว่าอุปกรณ์ที่อู่มี จะสามารถใช้งานร่วมกับบล็อคขันสกรูที่คุณมีได้หรือไม่ด้วย

นอกจากนี้ แม้คุณจะมีบล็อคขันที่เข้ากับหัวสกรูเก็บไว้กับตัว คุณก็อาจจะมีความกังวลเรื่องของการเก็บรักษาตัวบล็อคอีก ซึ่งแม้ในตอนนี้เราจะยังไม่เห็นว่าทาง BMW ได้มีการออกแบบชุดบล็อคขันไว้อย่างไร แต่หากพวกเขาออกแบบไว้โดยไม่ได้คำนึงถึงการตกกระแทกจนบล็อคบิ่นเสียหายได้ง่ายๆ ก็ย่อมไม่ใช่เรื่องดีอีกเช่นกัน
ข้อดีที่มีเกี่ยวกับการใช้สกรูหน้าตาลักษณะนี้ จึงมีแค่เพียงไม่กี่ข้อเท่านั้นที่ดูสมเหตุสมผล นั่นคือ การที่มันจะบ่งบอกถึงความเฉพาะตัวของแบรนด์อย่างเต็มที่ ซึ่งบางทีก็ไม่ต้องจัดเต็มขนาดนี้ก็ได้
และถัดมาคือเรื่องของความปลอดภัย เพราะโจรทั่วๆไป คงไม่ลงทุนซื้อบล็อคเฉพาะทางมาเพื่อขันรถของ BMW เพียงอย่างเดียว และเลือกที่จะหันไปหารถแบรนด์อื่นๆเพื่อโจรกรรมจะดีกว่า

ถึงกระนั้น ไอเดียนี้ก็คงไม่สามารถช่วยลดการโจรกรรมได้มากนักอยู่ดี เพราะเมื่อถึงจุดหนึ่ง ก็อาจจะมีคนคิดทำบล็อคขันออกมาขายให้คนทั่วไปสามารถสั่งซื้อจากช่องทางออนไลน์ได้ง่ายๆ และการป้องกันการโจรกรรมด้วยชิ้นส่วนพิเศษต่างๆเหล่านี้ก็จะไร้ค่าอยู่ดี หรือเต็มที่ก็ป้องกันได้เพียงเล็กน้อยเท่านั้น
ทำให้สุดท้ายแล้วมันอาจไม่ได้เป็นไอเดียที่ช่วยป้องกันการโจรกรรมที่ยังไม่ได้มีประสิทธิภาพเท่านั้น คืออาจจะดีขึ้น แต่ก็ยังไม่สามารถป้องกันการโจรกรรมได้ 100% อยู่ดี
และแม้ตอนนี้จะยังไไม่มีการยืนยันว่าทาง BMW จะทำสกรูเหล่านี้ออกมาใช้งานจริงหรือไม่ แต่ก็มีความเป็นไปได้ว่าในอีกไม่กี่สัปดาห์ข้างหน้านี้ เราอาจจะเห็นร้านขายอุปกรณ์หรืออะไหล่ยนต์ในจีน นำแบบไปแกะแล้วทำสกรูลักษณะนี้ขึ้นมาขายจริงๆบนแพลตฟอร์มออนไลน์ก็เป็นได้





